Apple receives a patent for a periscope camera lens ahead of rumored launch
iMore offers spot-on advice and guidance from our team of experts, with decades of Apple device experience to lean on. Learn more with iMore!
You are now subscribed
Your newsletter sign-up was successful
What you need to know
- Apple has received a patent for a periscope lens for use in an iPhone.
- Rumors have such a lens being used within the next two years.
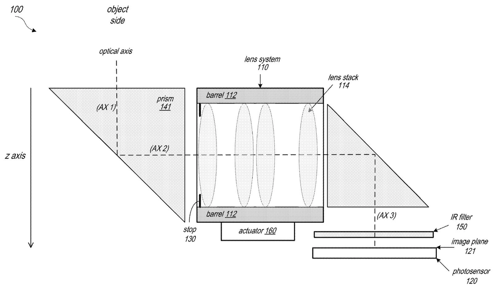
Apple has been rumored to have plans for a periscope iPhone lens since late last year and the company has now been granted a patent relating to one such 'folded camera.'
As spied by Patently Apple, the camera patent could potentially allow for increased zoom capabilities via the use of prisms. Normally, the size of an iPhone would make long zoom lenses almost impossible to offer, but by bending light Apple could alter the iPhone's camera dimensions to work for it, rather than against it.
The advent of small, mobile multipurpose devices such as smartphones and tablet or pad devices has resulted in a need for high-resolution, small form factor cameras that are lightweight, compact, and capable of capturing high resolution, high quality images at low F-numbers for integration in the devices... Thus, a challenge from an optical system design point of view is to provide an imaging lens system that is capable of capturing high brightness, high resolution images under the physical constraints imposed by small form factor cameras.
Other phones already offer similar lenses and can boast optical zooms of 10x as a result. That compares very favorably with the 2.5x offered by iPhones.
Rumors of an iPhone with a periscope lens have it being ready for some time in the next couple of years — potentially as soon as next year.
All this will come far too late for Apple's fall iPhone 13 launch, of course. We still expect some form of camera improvement to be part of that lineup however, thanks mainly to the use of sensor-shift stabilization across.
iMore offers spot-on advice and guidance from our team of experts, with decades of Apple device experience to lean on. Learn more with iMore!

Oliver Haslam has written about Apple and the wider technology business for more than a decade with bylines on How-To Geek, PC Mag, iDownloadBlog, and many more. He has also been published in print for Macworld, including cover stories. At iMore, Oliver is involved in daily news coverage and, not being short of opinions, has been known to 'explain' those thoughts in more detail, too.
Having grown up using PCs and spending far too much money on graphics card and flashy RAM, Oliver switched to the Mac with a G5 iMac and hasn't looked back. Since then he's seen the growth of the smartphone world, backed by iPhone, and new product categories come and go. Current expertise includes iOS, macOS, streaming services, and pretty much anything that has a battery or plugs into a wall. Oliver also covers mobile gaming for iMore, with Apple Arcade a particular focus. He's been gaming since the Atari 2600 days and still struggles to comprehend the fact he can play console quality titles on his pocket computer.
