Could this Apple patent point to Titanium as the future of its products?

What you need to know
- A newly-published Apple patent might just point to the future of Apple's device enclosures.
- That's because Apple has patented a way to finish Titanium.
- It involves random peaks and valleys that are no more than 0.3 micrometers in size.
A newly-published Apple patent could give us a clue as to how Apple might design its products of the future, as it reveals that Apple has patented a way to apply a matte finish to Titanium.
The patent is titled 'TEXTURED SURFACE FOR TITANIUM PARTS' and its abstract states:
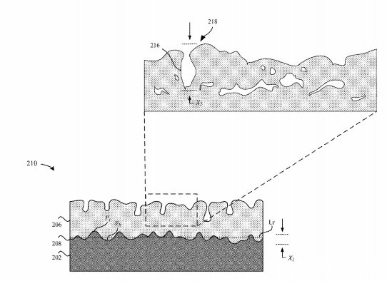
This application relates to an enclosure for a portable electronic device. The enclosure includes a titanium substrate having a textured surface that includes randomly distributed peaks separated from each other by valleys, where tops of the peaks are separated from bottoms of the valleys by at least a minimum separation distance such that the textured surface is characterized as having an Sq (root mean square height) that is greater than 0.3 micrometers.
As noted, the application is about enclosures for portable electronic devices, and patent images include drawings of the iPhone, iPad, Apple Watch and MacBook. According to the description, enclosures of portable electronic devices need "a high amount of strength and stiffness" to protect their operational components, however, it is also desirable for them to have "an attractive surface finish." For years now, Aluminum has been the go-to metal for Apple in its Macs, iPhones, and iPads. Apple's patent is designed to solve the problem of giving strong metals an attractive finish. The summary states:
According to some embodiments, an enclosure for a portable electronic device is described. The enclosure includes a titanium substrate having a textured surface that includes randomly distributed peaks separated from each other by valleys, where tops of the peaks are separated by bottoms of the valleys by at least a minimum separation distance such that the textured surface is characterized as having an Sq (root mean square height) that is greater than 0.3 micrometers.According to some embodiments, an enclosure for a portable electronic device is described. The enclosure includes a titanium substrate that includes an external textured surface having alternating peaks and valleys suitable for diffusely reflecting visible light that is incident at the external textured surface, where tops of the peaks are separated by bottoms of the valleys by at least a minimum depth such that the titanium substrate is imparted with a gloss value that is less than 2 gloss units as measured at 20 degrees relative to the external textured surface when the visible light is incident at the external textured surface.
A more specific description expands on this:
Portable electronic devices can include various operational components (e.g., display, processor, antenna, etc.). Enclosures of these portable electronic devices are capable of protecting these operational components from physical damage, such as during a drop event. The enclosures may be formed of various metals, such as anodized aluminum, which has a high amount of strength and stiffness that is sufficient to protect these operational components. Additionally, the surface finishes of these enclosures should also be aesthetically attractive. Titanium and alloys thereof may be utilized to form the enclosures of portable electronic devices. Indeed, titanium is harder than anodized aluminum. However, this hardness also makes it very difficult to etch and/or chemically etch titanium. As a result, titanium is characterized as having a high gloss surface finish, which may be considered aesthetically unattractive in some examples.
That's some heavy engineering language. However, the existence of this patent shows that Apple is at least thinking about the possibility of using a different material, Titanium in the design of its device enclosures. This patent also shows that Apple believes it has found a way to make Titanium an attractive metal that would fit its design ethos. Of course, this is just a patent, so it's only an idea just now. But who knows? Maybe Apple will one day move beyond Aluminum, which has for years been a staple of Apple design.
iMore offers spot-on advice and guidance from our team of experts, with decades of Apple device experience to lean on. Learn more with iMore!

Stephen Warwick has written about Apple for five years at iMore and previously elsewhere. He covers all of iMore's latest breaking news regarding all of Apple's products and services, both hardware and software. Stephen has interviewed industry experts in a range of fields including finance, litigation, security, and more. He also specializes in curating and reviewing audio hardware and has experience beyond journalism in sound engineering, production, and design.
Before becoming a writer Stephen studied Ancient History at University and also worked at Apple for more than two years. Stephen is also a host on the iMore show, a weekly podcast recorded live that discusses the latest in breaking Apple news, as well as featuring fun trivia about all things Apple. Follow him on Twitter @stephenwarwick9